Lino Guide
This will remove any mineral debris from the manufacturing process on the milling stones.
2. Place a bowl beneath the chute.
3. Select milling grade.
4. Switch on the mill.
5. Add the grain to the hopper.
6. After milling switch the mill off.
Selecting grain
Use only cleaned grains. Unclean grain may contain small stones that can damage the milling stones.
Milling foods or substances other than those listed in the milling guide can damage your mill and void the warranty.
In case of doubt, please contact us by sending an e-mail to info@mockmill.com
If in doubt, press a kernel onto a hard surface with the back of a spoon: If it breaks with a loud crack, the grain is dry.
Grains that are too damp for milling can be squashed flat and then they look like a rolled oat. Rye should be stored for at least six months following harvesting before milling.
To flush the mill of the aroma of milled spices, simply mill a small amount of grain (such as wheat or rice) right away. Then use this “flavored flour” to add aroma to your baking or sauces!
Warning
Keep hands and other objects (such as spoons or screwdrivers) away from the milling mecha-nism at all times. Failure to do so could cause injury (to the fingers) and/or damage the milling stones.
Always disconnect the appliance before cleaning.
The milling stones clean themselves if you select a coarse setting from time to time. If the mill is not to be used for a while, we recommend removing flour residue by milling on a coarser setting.
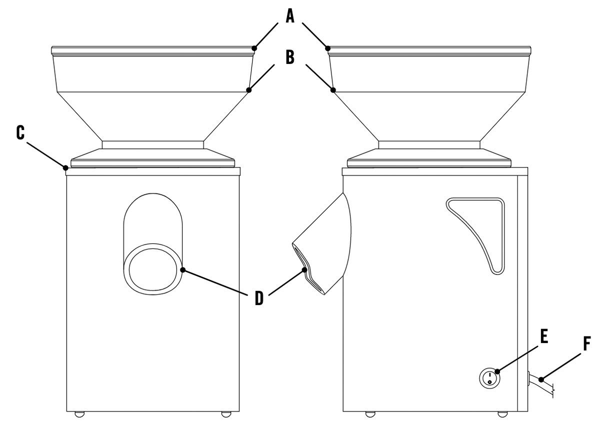
B:Hopper
C:Scale
D:Chute
E:Power switch
F:Power cable
The milling chamber can be cleaned by the following steps.
1. Please disconnect the Mockmill from the power socket before opening. Turn the hopper anti clockwise.
2. Lift the upper stone (stator) and control the milling surfaces.If a hard film has built up on the stones please remove this by following the instructions on page 17. Then the stator can be put back on.
3.Take the hopper and turn it one full time clockwise. Then plug the mill into the power socket and switch on. Turn the mill further until you hear a slight ticking noise.


Challenger Bread Pan
Mockmill 100 Grain Mill
Chocolate Sourdough Starter Kit
Netherton Foundry Iron Bread Tin
The Spring Oven Bread Pan
Netherton Foundry Bread Pan